Циклон ЦН-15У-200
Циклон ЦН-15У-200 Данный продукт достаточно универсальное очистительное оборудование, используемое в промышленности для сухой чистки газов, выделяемых при технологических обработках (сушка, обжиг, агломерация и пр.). Также циклоны ЦН-15 универсальные выполняют функцию аспирационных агрегатов в большом количестве различных промышленных отраслей. Клиенты, использующие циклоны данной марки, очень довольны наличием хорошей функциональности в использовании, качеством, ценой и сроками изготовления оборудования.
Общие сведения и условные обозначения
Существует возможность изготовления циклонов одиночного исполнения и группового. Четная группа циклонов может содержать от двух до восьми штук. В групповых циклонах подразумевается возможность использования камер воздушного очищения, как сборником, так и в виде «улитки». В одиночных циклонах предусмотрены только сборники второго вида. Циклоны уловители ЦН-15, которые производятся на основе углеродистой стали, требуют эксплуатации в температурных условиях до -40°C. Низколегированную сталь рекомендуется использовать тогда, когда условия работы ниже -40°C.
Основные преимущества циклона ЦН 15
Циклоны ЦН-15 универсальный имеют ряд существенных преимуществ, которые позволяют им иметь такое широкое применение:
- имеет простую конструкцию;
- наличие возможности применения в любой области;
- до недавнего времени не имел никаких аналогов;
- очистка воздуха происходит на очень высоком уровне 85%-95%.
Исполнение и конструкция
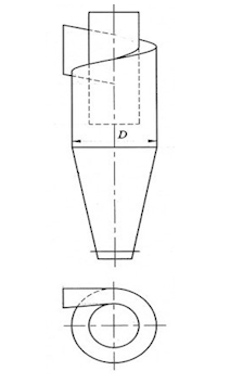
Фотография предоставляет возможность увидеть циклон пылоуловитель ЦН-15 в сборке стандартного типа. Данное исполнение требует полного отказа от использования такого циклона в высокотоксичных, взрывоопасных условиях, а также для улавливания пыли, у которой имеется повышенный процент слипания. Для использования в вышеуказанных условиях циклон ЦН-15 универсальный производится в специализированном защитном исполнении – необходимые взрывные клапаны, а также бункер маленьких размеров для полного исключения шанса накопления взрывоопасной пыли. У данных циклонов пропорции канонической и цилиндрической частей составляют 60/40. Диапазон работы составляет 1-60 тысяч м3, он зависит от марки. Вход улитки и часть конуса циклона (нижняя) имеют возможность приваривания дополнительных металлических листов, данная мера поможет существенно увеличить срок эксплуатации, ведь эти области имеют наибольший риск изнашивания. Листы привариваются только с внешней стороны агрегата. В случае, если диаметр циклона меньше, чем 800 мм, то не рекомендуется использовать его в улавливании абразивной пыли, иначе возможны неисправности в ближайшее время.
Технические характеристики Циклон ЦН-15У-200
| Наименование | Производительность м3/ч | Диаметр, мм | Высота, мм | Масса, кг |
| Циклон ЦН-15У-200 | 400 | 200 | 662 | 16 |
| Циклон ЦН-15У-300 | 900 | 300 | 993 | 37 |
| Циклон ЦН-15У-400 | 1600 | 400 | 1324 | 65 |
| Циклон ЦН-15У-500 | 2500 | 500 | 1655 | 102 |
| Циклон ЦН-15У-600 | 3600 | 600 | 1986 | 147 |
| Циклон ЦН-15У-700 | 4800 | 700 | 2317 | 200 |
| Циклон ЦН-15У-800 | 6300 | 800 | 2648 | 261 |
| Циклон ЦН-15У-900 | 8000 | 900 | 2979 | 330 |
| Циклон ЦН-15У-1000 | 9900 | 1000 | 3310 | 408 |
| Циклон ЦН-15У-1200 | 14200 | 1200 | 3972 | 587 |
| Циклон ЦН-15У-1400 | 19400 | 1400 | 4634 | 800 |
| Циклон ЦН-15У-1600 | 25300 | 1600 | 5896 | 1163 |
| Циклон ЦН-15У-1800 | 28500 | 1800 | 5958 | 1322 |
| Циклон ЦН-15У-2000 | 40000 | 2000 | 6020 | 1484 |


Отзывов пока нет.